4月23日6时38分,陕西凤县红花铺,22辆鸽车一字排开严阵以待,随着裁判员一声激昂的号令,第二十六届信鸽国家赛红花铺赛区拉开帷幕。
来自重庆市的24个区县,15558羽赛鸽参加本次比赛。本次比赛设300公里、400公里和500公里三个空距等级。司放地坐标东经 106°44'47"北纬 34°7'25"。
天气方面,司放地天气晴,气温3-25℃,东风2级。沿途部分路段逆风,归巢地天气多云,东北风微风,气温17-27℃。地形方面,小将们从陕西红花铺到山城重庆,穿越秦岭腹地,途经高山峡谷、陡峭山脊和蜿蜒河谷,还要面对山间雾气和巨大的海拔落差带来的严峻考验,比赛难度不小。
以下是部分鸽会的直播链接:
重庆信鸽协会 10279羽 直播链接
重庆铜梁区信鸽协会 746羽 直播链接
重庆市潼南区信鸽俱乐部 230羽 直播链接
(因数据不全,各区归巢情况仅供参考)
重庆市信鸽协会归巢消息:
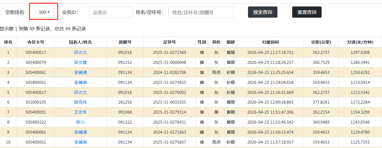
300公里级:
11时17分18秒,鸽友邱占文的一羽2025-31-0272369黄眼灰色雄鸽报进,飞行空距362.2公里,分速1297.0208米/分,暂列第一。
11时18分26秒,鸽友吴建文的一羽2025-31-0000048黄眼灰色雌鸽报进,飞行空距360.7公里,分速1286.3941米/分,暂列第二。
11时25分25秒,鸽友李辅清的一羽2024-31-0282706砂眼雨点雄报进,飞行空距359公里,分速1250.6292米/分,暂列第三。
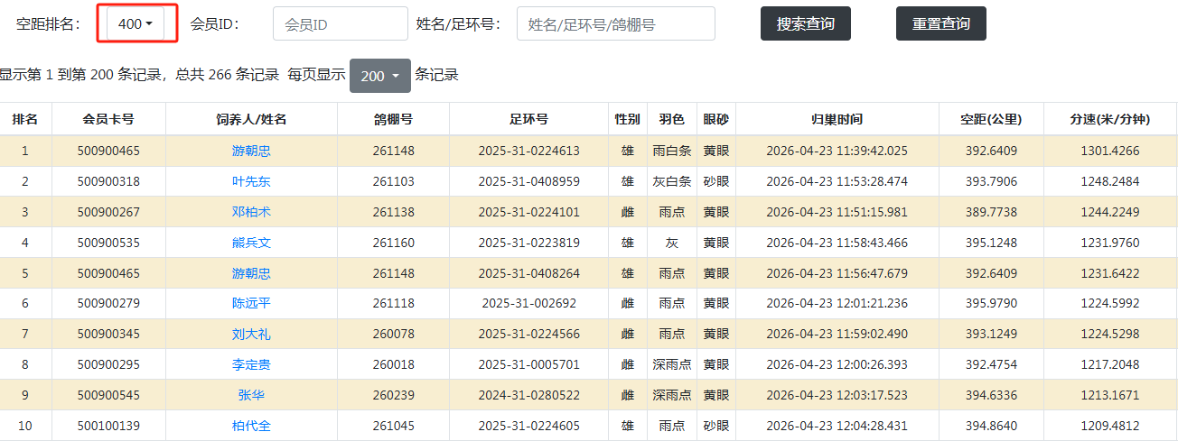
400公里级:
11时39分42秒,鸽友游朝忠的一羽2025-31-0224613黄眼雨白条雄鸽报进,飞行空距392.6公里,分速1301.4266米/分,暂列第一。
11时53分28秒,鸽友叶先东的一羽2025-31-0408959砂眼灰白条雄报进,飞行空距393公里,分速1248.2484米/分,暂列第二。
11时51分15秒,鸽友邓柏术的一羽2025-31-0224101黄眼雨点雌鸽报进,飞行空距389公里,分速1244.2249米/分,暂列第三。
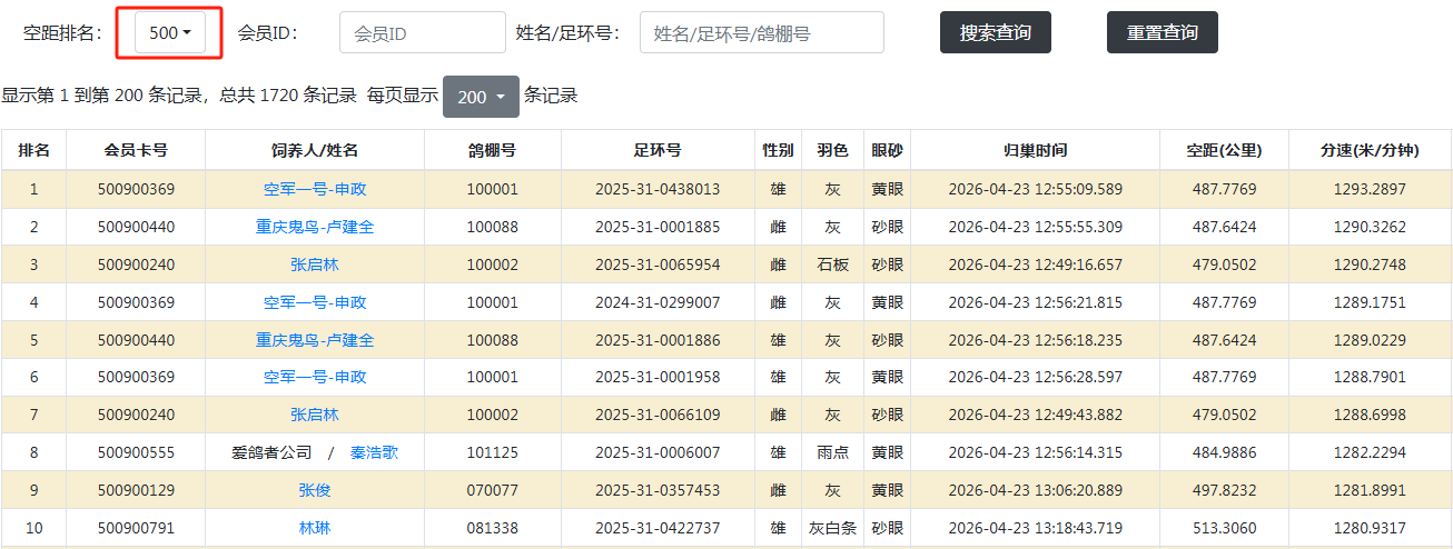
500公里级:
12时55分09秒,空军一号-申政的一羽2025-31-0438013黄眼灰色雄鸽报进,飞行空距487.7公里,分速1293.2897米/分,暂列第一
12时55分55秒,重庆鬼鸟-卢建全的一羽2025-31-0001885砂眼灰色雌鸽报进,飞行空距487公里,分速1290.3262米/分,暂列第二。
12时49分16秒。张启林的一羽2025-31-0065954砂眼石板雌鸽报进,飞行空距479公里,分速1290.2748米/分,暂列第三。
















