2024年信鸽国家赛——新乡赛区第二阶段的比赛拉开战幕,北京、天津、河北、安徽等省市鸽会组织鸽友参赛,共计9306羽赛鸽,4月28日早上6点10分在河南新乡统一开笼放飞,比赛空距500-700公里级别。
天津市信鸽协会集鸽3246羽,总奖励5.66万元,设ABC三个赛区,A、B赛区录取100名,C赛区录取录取50名,综合录取100名。
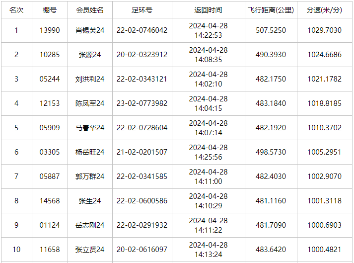
比赛当天下午14点02分10秒,隶属C赛区的静海区会员刘洪利率先见鸽报到,他的22-02-0343121飞行空距482.175公里,分速为1021.1782米/分,最终获得C赛区季军,总排名季军。
14点22分53秒,西青区会员肖锡芙的22-02-0746042报到,飞行空距507.525公里,分速为1029.703米/分,是全市的最高分速,拿下了C赛区冠军、天津市总冠军。
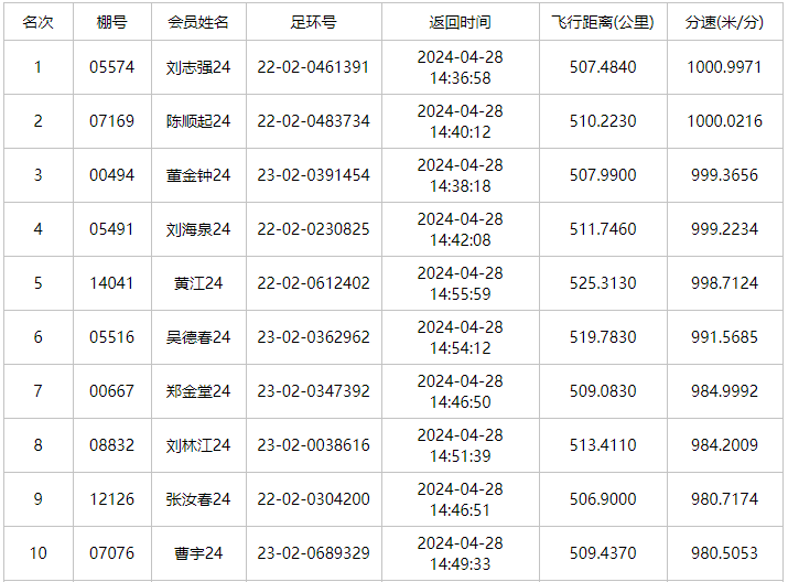
14点36分58秒,南开区会员刘志强的22-02-0461391赛鸽报进,飞行空距507.484公里,飞行分速为1000.9971米/分,获得A赛区冠军。
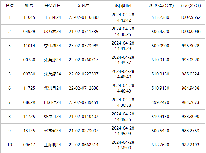
14点43分42秒,津南区王武刚的23-02-0116880赛鸽归来,飞行空距515.238公里,飞行分速为1002.9652米/分,获得B赛区冠军。
各赛区前十名成绩及部分验鸽图片

A赛区前十名成绩

B赛区前十名成绩

C赛区前十名成绩
天津市总冠军、C赛区冠军:肖锡芙,22-02-0746042

天津市总亚军、C赛区亚军:张 源,20-02-0323912

天津市总季军、C赛区季军:刘洪利,22-02-0343121

A赛区冠军:刘志强,22-02-0461391

B赛区冠军:王武刚,23-02-0116880












