秋赛热潮席卷南北,比赛征程令人振奋!9月9日,内蒙古与四川两家公棚同日开笼,共放飞赛鸽超2万羽,群鸽冲天,气势恢宏,拉开了新一轮竞翔大战的序幕。
早上6点37分,内蒙古通辽兄弟公棚打响103公里收费站,司放地为科右中旗好腰苏木。本场上笼13780羽。经过激烈角逐,7点45分,冠军诞生!来自申永根的05-0629011雨点率先归巢,赢下本场冠军,平均分速1475.5014米/分。王静红的05-0699337灰鸽随后拿下亚军,平均分速1473.8662米/分。季军由大千鸽舍-赵俊民的06-0116095雨点获得,平均分速1470.9777米/分。
截止当日下午15点,共计13000多羽小将归来,归巢率为97%。点击查看直播>>
2025年是内蒙古通辽兄弟公棚第十三届秋赛,收参赛费1500羽/元。本届设四场赛事,预计10月完赛。其中,530公里决赛取900名,前三名依次奖励15万、10万、7万,尾奖9千。

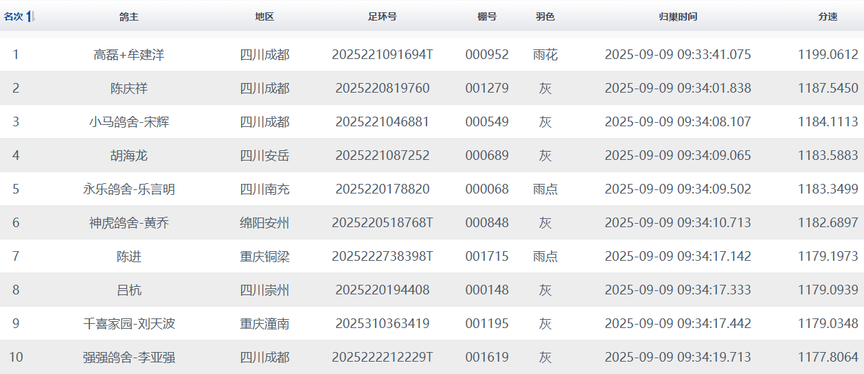
8点58分,四川南充豪杰赛鸽公棚43公里收费站开赛,司放地南部,集鸽7848羽。9点33分左右,首批归巢鸽报进。来自高磊+牟建洋的2025221091694T雨花拔得头筹,平均分速1199.0612米/分。陈庆祥的2025220819760灰鸽摘下亚军,平均分速1187.5450米/分。季军由小马鸽舍-宋辉的2025221046881灰鸽取得,平均分速1184.1113米/分。
截止当日下午15点,共计7500多羽小将归来,归巢率为96%。点击查看直播>>
今年是四川南充豪杰赛鸽公棚的第二届秋赛,设参赛费1500羽/元。本届设三关正赛,飞西北线,预计10月下旬完赛。其中,440-460公里决赛取1000个名次,奖励冠军20万、亚军15万、季军10万,尾奖5千。

通辽兄弟公棚画面开笼
















