10月25日早6时40分,唐山市信鸽协会和唐山阳关赛鸽俱乐部五关联翔赛第三关,在内蒙古阿鲁科尔沁开笼。点击查看比赛直播>>
比赛集鸽19359羽,其中东部赛区9103羽,西部赛区10256羽。司放地天气晴,风向西北风,风力1级,参考空距556公里。赛线沿途多为晴好天气,最高温15℃,西北风转西风1-3级,给竞翔带了良好的条件,期待这1.9万羽小将顺利归巢。
回顾上一关比赛,整体归巢率达到了77.06%,冠军被鸽友张春江的一羽2025-03-0930110斩获,飞行空距544.036公里,分速1670.0225米/分。
归巢消息:
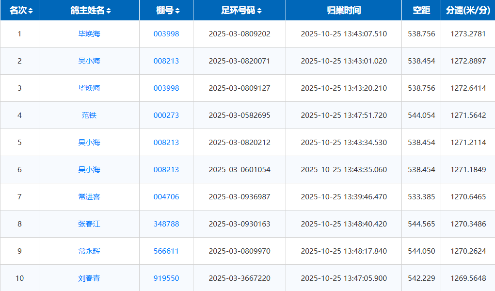
下午13时43分07秒,鸽友毕焕海的一羽2025-03-0809202打钟报进,空距538.756公里,分速1273.2781米/分,斩获冠军。其名下另一羽赛鸽2025-03-0809127随后报进,分速1272.6414米/分,获得季军。实现冠季军包揽,实力了得。
下午13时43分01秒,鸽友吴小海的一羽2025-03-0820071报进,空距538.454公里,分速1272.8897米/分,拿下亚军荣誉。其名下另外两羽2025-03-0820212、2025-03-0601054分别拿下第五名与第六名,佳绩连连。
截至10月26日上午11时26分,已归巢12923羽赛鸽,归巢率66.75%。

















