8月12号,四川省汉源县九襄赛鸽俱乐部发起比赛,本次是一场较为轻松的百公里空距的测试赛。但大半天,竟有半数赛鸽都未归巢,这是怎么了?一起来看一下比赛的详细情况。
8月12日上午7点58分,3000羽幼鸽展开比拼,空距127公里。司放地四川邛崃,最高气温31℃,多云、微风。直播网址>>
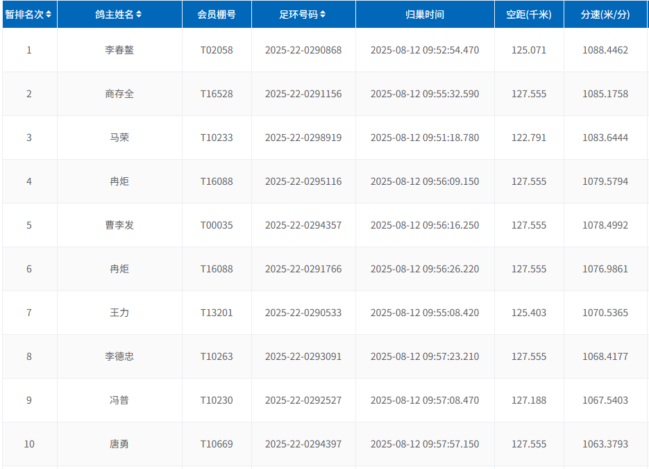
上午十点左右,赛鸽们开始归巢,本场并未出现“大批量归巢报到”的情况,冠军李春鳌的2025-22-0290868,打钟时间09:52,飞行空距125.071公里,分速1088.4462米/分。
从冠军分速可以看出,这场比赛是一场较为艰难的“消耗战”,也许是被高温折磨了回家的意志,也许被是复杂的地形扰乱了判断……总而言之,3分钟之后,亚军才堪堪打钟归巢:
亚军商存全,换号2025-22-0291156,打钟时间09:55,飞行空距127.555公里,分速1085.1758米/分。
亚军马荣,环号2025-22-0298919,打钟时间09:55,飞行空距122.791公里,分速1083.6444米/分。
截至17点50分,共归巢1400多羽,归巢率不足一半。期待能有更多小将们归来!












