秋风起,竞翔忙。9月,内蒙大地的空气裹着恰到好处的凉爽,正是赛鸽驰骋天际的好时节。9月10日,内蒙超越公棚2025年第五届秋季大奖赛收费站开打,1.2万羽赛鸽开启了一场百公里的短程竞速。
早晨7时18分,随着司放员一声令下,12749羽赛鸽冲出鸽车,迅速向远方的巢穴飞去。司放地土默特右旗海子乡磨房营天气晴好,气温19-29℃,参考空距101公里。点击查看直播>>
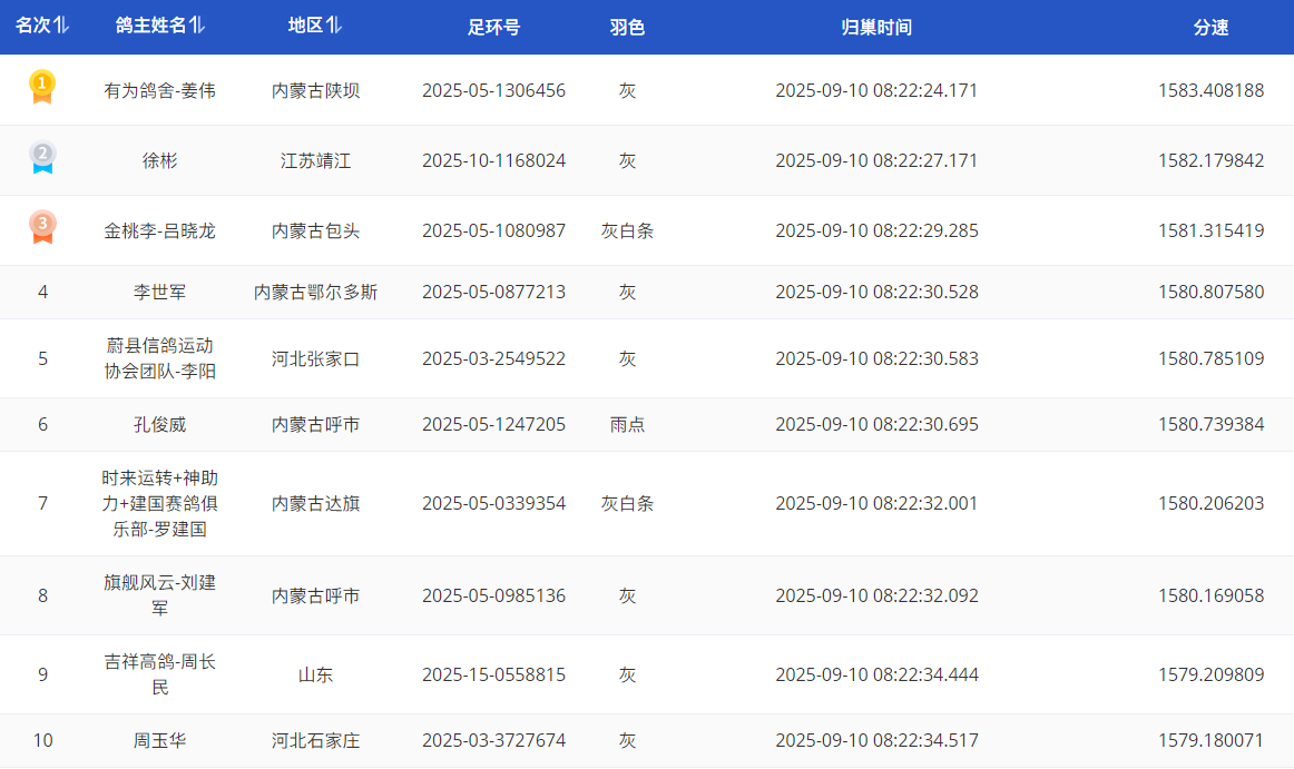
一小时左右,赛鸽速速归巢。来自内蒙古陕坝的鸽友有为鸽舍-姜伟夺得本场冠军,其名下一羽2025-05-1306456灰鸽于08时22分24秒归巢,分速1583.4081米/分。
三秒后,亚军鸽成功报进。恭喜来自江苏靖江的外地鸽友徐彬,拿下本场亚军。赛鸽环号2025-10-1168024,归巢时间08时22分27秒,分速1582.1798米/分。
来自内蒙古包头的鸽友金桃李-吕晓龙获得本场季军,其名下一羽2025-05-1080987灰白条于08时22分29秒归巢,分速1581.3154米/分。
截至上午9时10分,共归巢11549羽赛鸽,归巢率达90.6%。
今年是内蒙古超越公棚第五届竞赛,除100公里收费站,接下来还将举办180公里资格赛,300公里一关,400公里二关,500公里三关四场竞赛。决赛取奖1000名,前三名奖金分别为50万、30万、20万,尾奖12000元。一起期待后续的精彩比赛。
成绩截图
开笼图















