3月3日,宁夏塞上江南职业赛鸽公棚第二关比赛,在甘肃宁县打响。早晨8时58分,4128羽赛鸽从鸽车中振翅起飞,朝着公棚方向飞去,比赛实际空距393公里。司放地天气阴,赛线沿途风向为东南风1-3级,多云转晴,小将们将面临一定的挑战。
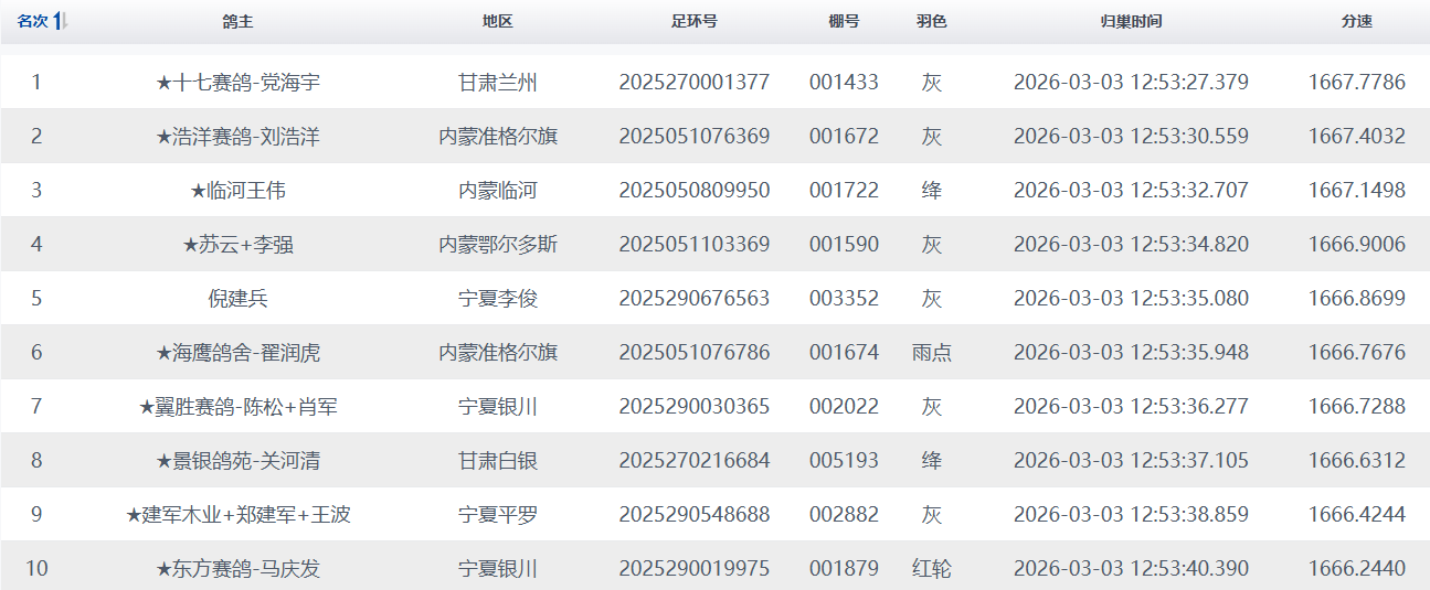
按照规程,今年塞上江南公棚春赛参赛费1800元,举办收费站、热身赛以及三关正赛。决赛预计3月份在陕西境内举行,空距480-520公里,取奖1100名,尾奖9000元。今日小将们归巢迅速,仅仅4个小时,便有大批赛鸽出现在了公棚上方,降落报进。12时53分27秒,鸽友十七赛鸽-党海宇的2025270001377灰鸽率先进棚踩钟,分速1667.7786米/分,获得冠军。
紧接着浩洋赛鸽-刘浩洋的2025051076369灰鸽报进,打钟时间12时53分30秒,分速1667.4032米/分,获得亚军。
鸽友临河王伟的一羽2025050809950绛鸽,打钟时间12时53分32秒,分速1667.1498米/分,获得季军。
截至下午14时25分,共归鸽2115羽,归巢率已突破51.28%。期待剩余的小将顺利归巢。















