三月春风劲,塞上战鼓擂。3月10日早晨7时33分,宁夏塞上江南赛鸽公棚第三关决赛,在陕西乾县开笼。3264羽经过层层筛选的精英战鸽,在此刻振翅启航,向着500公里外的宁夏的归巢地发起最后的冲刺。
天气方面,今日司放地乾县天气总体晴好,气温0-18℃,北风2级。清晨虽有薄雾伴随轻度污染,但随着太阳升起,能见度逐渐转好,为鸽群起飞提供了有利条件。赛线沿途亦是大面积晴朗天气,北风1-3级,最高温可达20℃,整体气象条件较适宜赛鸽飞行。
赛线方面,飞行方向为东南-西北,赛鸽从关中平原北部边缘出发,需穿越广袤的黄土高原沟壑区,最终抵达宁夏平原。整体地势南低北高,但起伏相对平缓,主要考验赛鸽在干旱少植被区域的定向能力和耐力。
归巢消息:
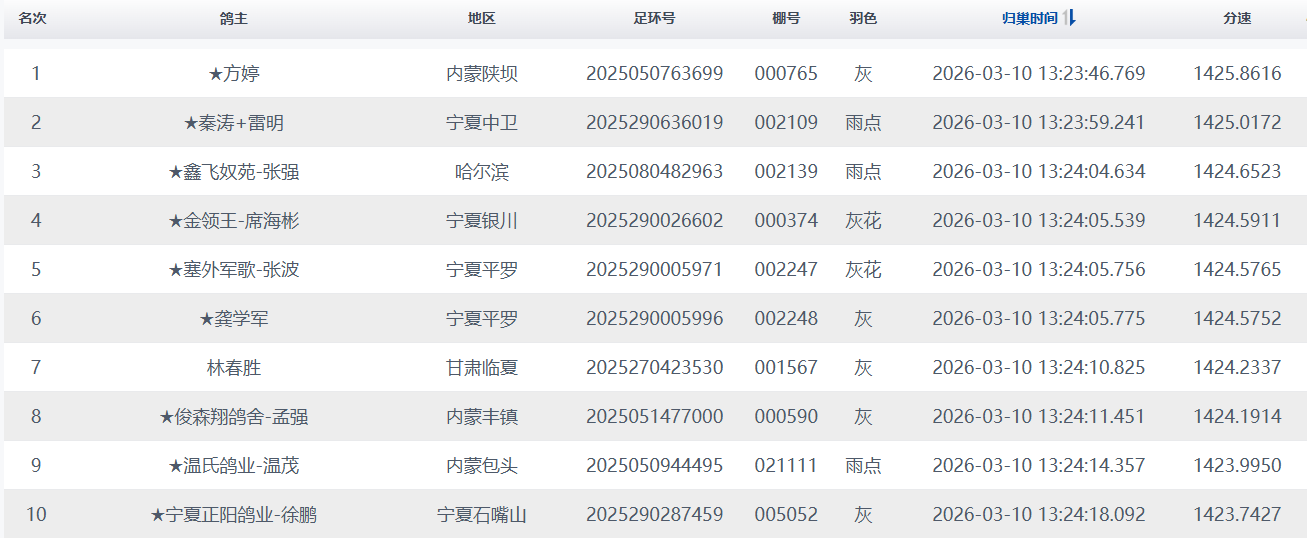
13时23分46秒,内蒙鸽友方婷的一羽2025050763699灰鸽率先踩钟报进,分速1425.8616米/分,斩获本次决赛冠军!
13时23分59秒,宁夏中卫鸽友秦涛+雷明组合麾下一羽2025290636019雨点,紧随冠军身后报进,分速1425.0172米/分,以毫厘之差屈居亚军。
13时24分04秒,哈尔滨鸽友鑫飞奴苑-张强麾下一羽2025080482963雨点踩钟报进,分速1424.6523米/分,获得季军。
下午14时整,距离第一羽归巢鸽踩钟不到一小时,就已有548羽赛鸽报进。
根据规程,今年塞上江南公棚第十四届春赛,参赛费1800元,举办三场正赛。决赛录取1100名,冠军奖金22万、亚军10万、季军6万,尾奖9000元,前十名颁发精美奖杯。期待剩余小将能克服困难,顺利归巢。
















